Nozzle Guide Vane Translate
nozze

Nozzle Guide Vane Translate

Nozzle Guide Vane Translate, Indeed recently has been hunted by consumers around us, perhaps one of you personally. People now are accustomed to using the internet in gadgets to view video and image information for inspiration, and according to the name of this article I will discuss about

If the posting of this site is beneficial to our suport by spreading article posts of this site to social media marketing accounts which you have such as for example Facebook, Instagram and others or can also bookmark this blog page.

Trent 1000 Presentation Nozzle For Rosettes

Propelling Nozzle Wikiwand Nozzle For Rosettes

2 Nozzle For Rosettes

Claimparse Nozzle For Rosettes

Turbine Wikipedia Nozzle For Rosettes

One Stage Power Turbine Preliminary Design And Analysis Nozzle For Rosettes

Film Cooling And Aerodynamic Performances Of A Turbine Nozzle Guide Vane With Trenched Cooling Holes Sciencedirect Nozzle For Rosettes

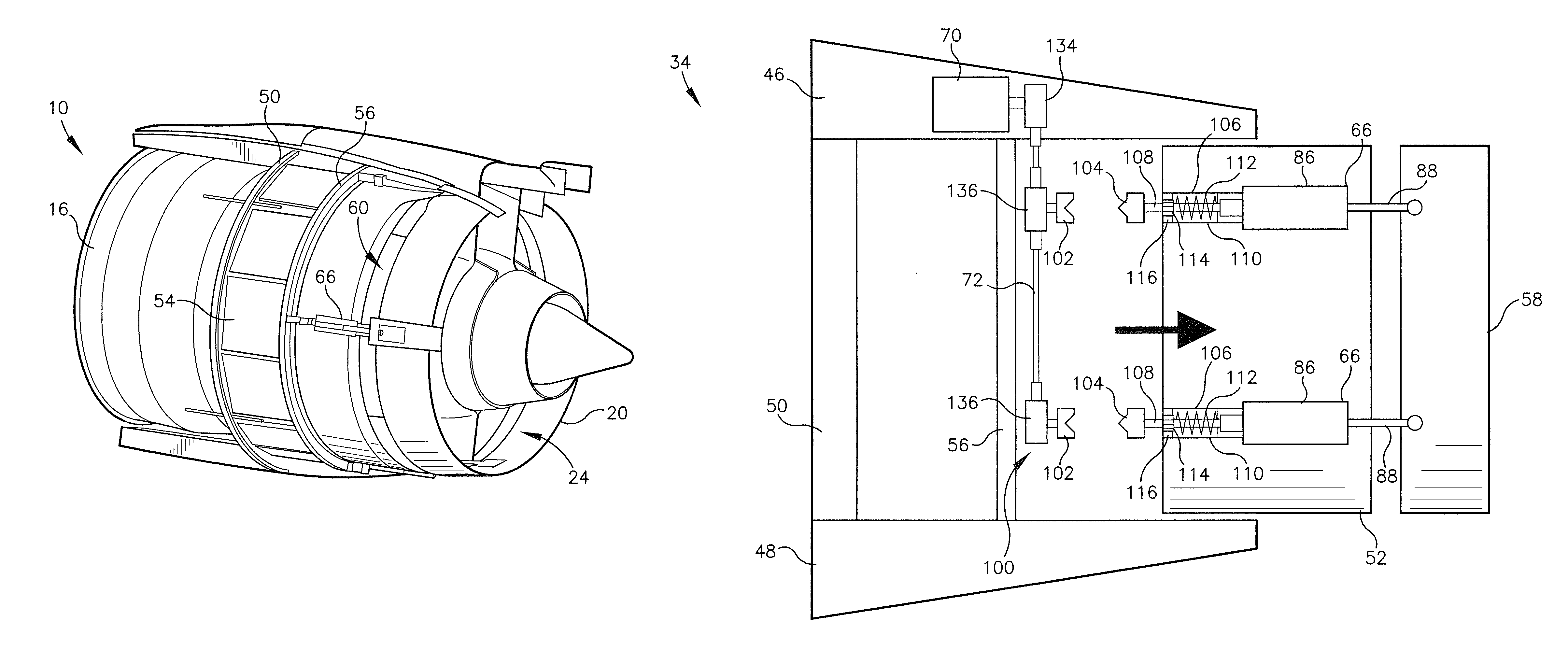
Analytics For Us Patent No 9303590 Variable Area Fan Nozzle Actuation System Nozzle For Rosettes

Https Digitalcommons Lsu Edu Cgi Viewcontent Cgi Article 3772 Context Gradschool Theses Nozzle For Rosettes

Mach Number Contours Around The T106c Nozzle Guide Vane Download Scientific Diagram Nozzle For Rosettes

More From Nozzle For Rosettes